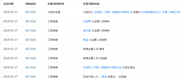
家电网-HEA.CN报道:据企查查数据显示,3月13日,乐视网董事长刘淑青卸任西藏乐视信息技术有限公司总经理职位。同时,原法定代表人韩金卸任,新任法人刘延峰;大股东从“乐视网(天津)信息技术有限公司”变更为“乐视新媒体文化(天津)有限公司”。
3月19日上午消息,据企查查数据显示,3月13日,乐视网董事长刘淑青卸任西藏乐视信息技术有限公司总经理职位。同时,原法定代表人韩金卸任,新任法人刘延峰;大股东从“乐视网(天津)信息技术有限公司”变更为“乐视新媒体文化(天津)有限公司”。

西藏乐视网信息技术有限公司成立于2013年12月10日,注册资本2亿元人民币,乐视网信息技术(北京)股份有限公司100%持股,最终受益人和疑似实际控制人均为贾跃亭,持股25.9%。
(家电网® HEA.CN)
责任编辑:编辑K组